{{ v.name }}
{{ v.cls }}类
{{ v.price }} ¥{{ v.price }}
>
作为小米的CEO,雷军一度强调商标和域名的重要性。商标保姆注册,只要399
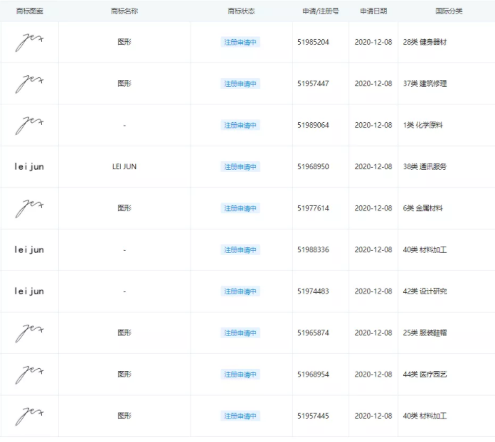
近期,小米科技有限责任公司陆续提交申请了上百件商标申请,其中还包括雷军的名字拼音“lei jun”和雷军的手写签名图形商标。
我们先来一睹为快。

根据查询到信息来看,小米公司对雷军的名字拼音商标和手写签名商标都是45类全类注册,全方位保护。

雷军的名字拼音就不说了,大家都认得出来,这个手写签名,没见过的人确实不太好辨识出来。
此前,网上流传一张小米公司高管签名照,其中就有雷军的签名(下图第一个),大家可以和商标图样比对一下,看起来是一样一样的。


不得不说,雷军这个签名,一笔划完,十分简洁......
话说回来,雷军作为小米公司的创始人,其自身具备极高的商业价值,小米公司大量注册雷军的名字拼音和手写签名商标,是一种防御性保护策略,有效避免他人抢注商标给品牌带来损失。
前不久,京东夫妇的名字就遭遇抢注,虽然不是明目张胆注册“刘强东”和“章泽天”,只是被某企业注册了“刘强西”和“章小天”,但不免也让人浮想联翩,傍上京东夫妇的品牌效应。
一直以来,小米公司的商标布局广受赞誉。自小米公司成立以来,已经申请注册了8000余件商标,核心产品都进行了商标保护。
仅从小米品牌来看,小米就注册了几乎所有的“米”字日常词汇,包括“紫米”、“黑米”、“虾米”、“米线”、“玉米”、“米粒”、“米饭”、“爆米花”等商标,组成了大家津津乐道的“米氏家族”。
在小米米家概念提出后,小米还注册了“咱家”、“我们家”、“我家”、“咱们家”等商标。
业内常说,“项目未动,商标先行”,不管对于任何企业来说,早日进行商标布局都是明智之举,一时犹豫错过了心仪商标或被他人抢注,到时候的损失就更大了。